
混凝土构件中钢筋的名称和作用:
钢筋按其在构件中起的作用不同,通常加工成各种不同的形状。构件中常见的钢筋可分为主钢筋(纵向受力钢筋)、弯起钢筋(斜钢筋)、箍筋、架立钢筋、腰筋、拉筋和分布钢筋几种类型,如图所示。各种钢筋在构件中的作用如下。

1、 主钢筋。又称纵向受力钢筋,可分受拉和受压两类。受拉钢筋配置在受弯构件的受拉区和受拉构件中承受拉力;受压钢筋配置在受弯构件的受压区和受压构件中,与混凝土共同承受压力。


受拉钢筋在构件中的位置 受压钢筋在构件中的位置
2、弯起钢筋。它是受拉钢筋的一种变化形式。在简支梁中,为抵抗支座附近由于受弯和受剪而产生的斜向拉力,就将受拉钢筋的两端弯起来,承受这部分斜拉力,当主钢筋长度不够弯起时,也可采用吊筋。
3、 架立筋。架立钢筋能够固定箍筋,并与主筋等一起连成钢筋骨架,保证受力钢筋的设计位置,使其在浇筑混凝土过程中不发生移动。

4、箍筋。箍筋的主要作用是固定受力钢筋在构件中的位置,并使钢筋形成坚固的骨架,同时箍筋还可以承担部分拉力和剪力等。
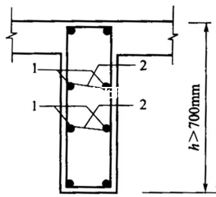
5、腰筋与拉筋。腰筋的作用是防止梁太高时,由于混凝土收缩和温度变形而产生的竖向裂缝,同时亦可加强钢筋骨架的刚度。
6、分布筋。分布钢筋是指在垂直于板内主钢筋方向上布置的构造钢筋。其作用是将板面上的荷载更均匀地传递给受力钢筋,同时在施工中可通过绑扎或点焊以固定主钢筋位置,同时亦可抵抗温度应力和混凝土收缩应力。
本文来源:中园建设
仅作为分享交流,如有侵权,请联系删除
上一篇: 必知的剪力墙、梁、板模板标准做法
下一篇: 5分钟掌握3类构件的钢筋连接方法
五隆兴科技发展有限公司
